- Главная
- Интерьерные светильники
- Подсветки для лестниц и ступеней
- Подсветка для лестниц и ступеней Frame 113260
Подсветка для лестниц и ступеней Frame 113260
- Характеристики
- Отзывы0
| Код товара | 230968 |
| Штрихкод | 4024163139250 |
| Страна | Германия |
| Фабрика | SLV |
| Серия | Frame |
| Артикул | 113260 |
| Группа | Точечные светильники |
| Вид | Встроенные |
| Максимальная мощность лампы | 1 |
| Напряжение | 220 |
| Световой поток, lm | 45 |
| Цветовая температура, K | 4000 |
| Срок службы, ч | 30000 |
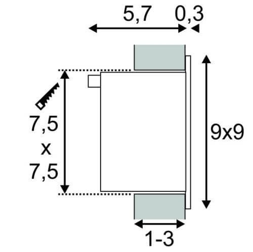
| Ширина, см | 9 |
| Высота, см | 9 |
| Вес брутто, кг | 0,239 |
| Степень защиты (IP) | IP20 |
| Статус товара | На заказ |
| Стиль | Современный |
| Вид ламп | Светодиодные |
| Цоколь | LED |
| Общая мощность | 1 |
| Площадь освещ.(м2) | 1 |
| Комплектация лампами | да |
| Компоненты | Лампочки |
| Материал арматуры | Металл |
| Цвет арматуры | Белый |
| Материал плафона/абажура | Стекло |
| Цвет плафона абажура | Белый |
| Направление плафона/абажура | Вниз |
| Глубина врезки, см | 6.6 |
| Гарантия | 60 мес |
| Глубина, см | 6 |
Подсветка для лестниц и ступеней Frame 113260 отзывы
Теги:Frame











































































































































































































































